Try free on Pangolin Cloud
Fastest way to get started with Pangolin using the hosted control plane. No credit card required.
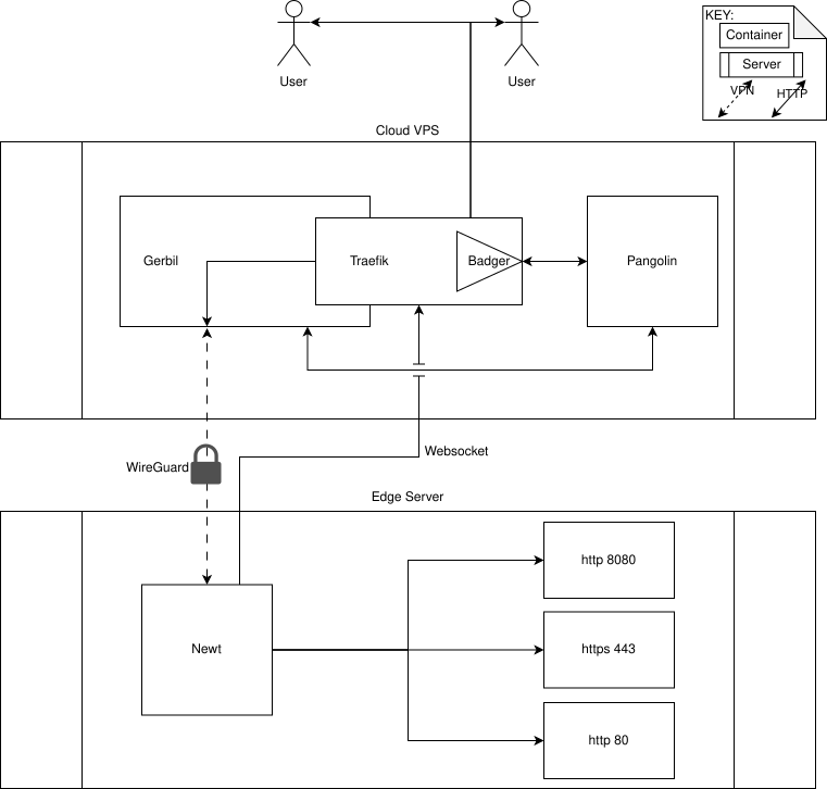
Pangolin (Control Plane)
Pangolin is the main control center that orchestrates the entire system:- Web Interface: Management dashboard for configuring sites, users, and access policies
- REST API: External API for automation and integration
- WebSocket Server: Manages real-time connections to edge network clients
- Authentication System: Handles user authentication and authorization
- Database: Stores configuration, user data, and system state
Pangolin acts as the brain of the system, coordinating all other components and managing user access.
Gerbil (Tunnel Manager)
Gerbil manages the secure WireGuard tunnels between your edge networks and the central server:- Peer Management: Creates and maintains WireGuard connections
- Tunnel Orchestration: Handles tunnel creation, updates, and cleanup
- Security: Ensures all traffic is encrypted using WireGuard’s cryptographic protocols
WireGuard provides fast, secure, and reliable tunneling with minimal overhead.
Newt (Edge Client)
Newt is a lightweight client that runs on your edge networks (servers, VMs, or containers):- Automatic Discovery: Finds the optimal node for best performance
- Dual Connection: Connects to Pangolin via WebSocket and Gerbil via WireGuard
- Resource Proxy: Creates TCP/UDP proxies to expose your applications securely
Reverse Proxy (Router)
The reverse proxy handles incoming requests and routes them to your applications:- Request Routing: Directs traffic to the correct backend services
- SSL Termination: Manages HTTPS certificates and encryption
- Middleware Support: Integrates with security and monitoring plugins
Badger (Authentication Middleware)
Badger is Pangolin’s middleware that enforces access control:- Request Interception: Catches all incoming requests before they reach your applications
- Authentication Check: Verifies user identity and permissions
- Secure Redirects: Sends unauthenticated users to Pangolin’s login system


